2026年4月 LegalOn Weekly Report(第3週)

【LegalOn UI Update】契約書一覧画面の操作性向上に向けたUIアップデートを実施
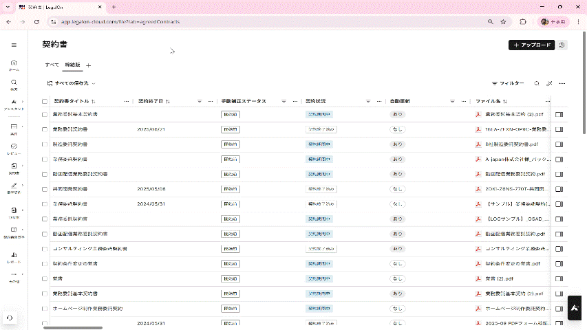
契約書一覧画面において、日々の検索・確認業務をよりスムーズに行えるよう、 操作性と一覧管理の柔軟性を向上させる複数のUIアップデートを実施しました。
直感的なフィルタ操作や条件保存、表示カスタマイズに対応することで、 利用シーンに応じた効率的な契約書管理を実現します。
① ヘッダー上での直感的なフィルタ操作に対応
契約書一覧画面において、各表示項目のテーブルヘッダーから直接フィルタ操作が行えるようになりました。これにより、目的の契約書をよりスムーズに絞り込むことが可能です。
また、Excelのような操作感を実現しており、初めてご利用いただく方でも迷うことなく、直感的にフィルタリングを行えます。
② 検索・フィルタ条件をタブとして保存可能に
契約書一覧画面で設定した検索・フィルタ・ソート条件を、でタブとして保存できるようになりました。 よく利用する条件をワンクリックで呼び出せるため、日々の業務効率が向上します。
また、「すべて」タブをベースにカスタマイズした表示条件の保存にも対応しており、業務内容に応じた柔軟な一覧管理が可能です。加えて、アップロード時の操作性改善など、関連するUIもあわせて最適化しています。
③ タブの並び替えによる一覧管理の最適化
契約書一覧画面において、作成したタブの表示順を自由に並び替えられるようになりました。 利用頻度や業務フローに応じてタブを整理することで、必要な情報へより迅速にアクセスできます。
日常的に利用する一覧環境を、自社の業務スタイルに合わせて最適化できるようになります。
▼LegalOnの詳細はこちら

💡まるで一瞬。世界水準の法務AIを体験!
LegalOn Assistantは契約レビューから修正反映、契約書作成までを、最短5分で前に進めるためのサービスです。使い方は簡単で、チャットに「ここをこう直して」と話しかけるだけ。ぜひご体感下さい。
“何て聞けばいい?”で迷わない『プロンプトライブラリー』

「LegalOn」の弁護士が監修した最適なプロンプトを、 ボタン一つで呼び出して即実行。誰もが「AIを使いこなす法務」へと変わることで、スキルに依存せず、チーム全体の業務品質を底上げします。
▶詳細はこちら

【おすすめセミナー】メンバーの業務負荷を可視化する データに基づく法務マネジメント
法務部門においては、案件数の増加や対応内容の多様化により、業務負荷の偏りや案件の滞留状況を把握しづらくなるケースが見られます。また、週次・月次の報告に向けた集計や資料作成が負担となる場面も少なくありません。
本セミナーでは、こうした課題に対し、法務組織の稼働状況をデータで可視化し、業務運営や意思決定に活かすための考え方をご紹介します。主要な指標の捉え方や、業務分担・改善につなげるポイントを整理するとともに、製品デモを通じて具体的な活用イメージをお伝えします。
法務部門のマネジメント層の方はもちろん、案件管理や業務改善を担う方に向けて、データに基づいた組織運営を実現するための実践的なヒントを提供します。
▶セミナーへのお申込みはこちら
ここまでご覧いただき、ありがとうございました。
今後も皆さんのお役に立てる情報を提供してまいります。
それでは、次回もどうぞよろしくお願いいたします。



